
18121388846
cnklfm@163.com
15706269064
959210378J41W鑄鋼法蘭截止閥的啟閉件是密封上面呈平面或錐面的閥瓣,閥桿操作閥瓣沿閥座中心線作升降運動;鑄鋼法蘭截止閥閥桿開啟或關閉行程相對較短且具有切斷動作,使得它適合作為介質的切斷或一定范圍內的調節及節流使用。鑄鋼法蘭截止閥開啟和關閉力矩較大、結構長度較長,通常公稱截止閥通徑都在250mm以下,但選用時需注意進出口方向。DN150以下的鑄鋼法蘭截止閥介質一般從閥瓣下方進入,而DN200以上的截止閥介質一般從閥瓣上方進入,這是考慮到閥門的關閉力矩所致。DN200以上的截止閥設內旁通或外旁通閥門可減小開啟或關閉力矩。
鑄鋼法蘭截止閥采用強制密封方式,因此在閥門關閉時需要施加壓力以確保密封面不泄漏。隨著自密封閥門的出現,鑄鋼法蘭截止閥改變了介質流向,現如今介質從閥瓣上方進入閥腔。在流體壓力作用下,關截止閥力較小,而開截止閥力較大,閥桿直徑可以相應減小尺寸。同時,這種形式的閥門也具有較好的密封性能。鑄鋼法蘭截止閥用于石油、化工、電力、冶金、機械等裝置的自動控制系統中。
鑄鋼法蘭截止閥性能
鑄鋼法蘭截止閥的閥瓣從關閉位置移開后,閥座和閥瓣密封面之間就不會接觸,密封面機械磨損小,故其密封性能較好,缺點是密封面間可能會夾住流動介質中的顆粒。可以根據需要閥瓣做成陶瓷,就可以解決耐磨損的問題,由于截止閥瓣開與關之間行程小,密封面又能承受多次啟閉,因此它很適用于需要頻繁開關的場合。
鑄鋼法蘭截止閥原理
鑄鋼法蘭截止閥是指閥瓣沿閥座中間線移動的閥門。由于鑄鋼法蘭截止閥的閥桿開啟或關閉行程相對較短,并且具有較好的切斷功能。此外,閥座通口的變化與閥瓣行程成正比,適合用于切斷和一定范圍內的調節和節流。鑄鋼法蘭截止閥可以應用于不同的管道流體系統。
鑄鋼法蘭截止閥標準
| 設計標準 | GB/T 12235 | ||||||
| 壓力溫度等級 | GB/T 12224 | ||||||
| 結構長度 | GB/T 12221 | ||||||
| 法蘭連接尺寸 | JB/T 79、GB/T 9113、HG/T 20592 | ||||||
| 焊接端連接 | GB/T 12224 | ||||||
| 檢驗與試驗 | JB/T 9092、GB/T 13927、GB/T 26480 | ||||||
| 公稱壓力(MPa) | PN10 | PN16 | PN25 | PN40 | PN64 | PN100 | PN160 |
| 殼體試驗(MPa) | 1.5 | 2.4 | 3.75 | 6.0 | 9.45 | 15.0 | 24.0 |
| 高壓密封試驗(MPa) | 1.1 | 1.76 | 2.75 | 4.4 | 6.93 | 11.0 | 17.6 |
| 低壓氣密封試驗(MPa) | 0.6 | 0.6 | 0.6 | 0.6 | 0.6 | 0.6 | 0.6 |
| 適用溫度 | -29℃~550℃(不同的工況溫度選用不同的材質) | ||||||
| 適用介質 | 水、油、蒸汽及不同的腐蝕性介質(不同的介質選用不同的材質) | ||||||
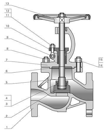
鑄鋼法蘭截止閥零件材質
| 序號 | 零件名稱 | 材質 | ![]() |
|
| 不銹鋼 | 鑄鋼 | |||
| 1 | 閥體 | CF8 | WCB | |
| 2 | 閥瓣 | 304 | A105+13Cr | |
| 3 | 閥瓣螺母 | 304 | 2Cr13 | |
| 4 | 墊圈 | 304 | 35 | |
| 5 | 閥桿 | 304 | 2Cr13 | |
| 6 | 中法蘭墊片 | PTFE | 304+石墨 | |
| 7 | 閥蓋 | CF8 | WCB | |
| 8 | 填料 | PTFE | 石墨 | |
| 9 | 銷軸 | 304 | 25 | |
| 10 | 填料壓蓋 | CF8 | WCB | |
| 11 | 活節螺栓 | A193 B8 | A193 B7 | |
| 12 | 螺母 | A194 8 | A194 2H | |
| 13 | 手輪 | 鑄鐵、HT300-06 | 鑄鐵、HT300-06 | |
| 14 | 螺栓 | A193 B8 | A193 B7 | |
| 15 | 螺母 | A194 8 | A194 2H | |
鑄鋼法蘭截止閥結構特點
1、閥體閥蓋連接方式:PN10-PN100采用栓接閥蓋;PN160及以上采用自壓密封式閥蓋。
2、啟閉件(閥瓣)設計:通常采用平面密封閥瓣,可根據客戶要求和實際工況需要采用錐度密封閥瓣,密封面可根據用戶要求堆焊金材料或鑲嵌非金屬材料。
3、閥蓋中道墊片形式:PN10~PN40截止閥采用不銹鋼石墨復合墊片;PN63~PN100截止閥采用不銹鋼石墨纏繞墊片; PN160自密封截止閥采用自壓密封金屬環。
4、填料密封:填料部分通常填充柔性石墨材料,可根據需求提供四氟或者復合填料材料。
5、操作形式:常規采用手輪或者蝸輪驅動,可根據用戶需要采用鏈輪驅動、氣動跟電動驅動。
6、閥桿螺母:通常情況下,閥桿螺母材料采用不銹鋼或銅合金。可以根據用戶要求采用高鎳鑄鐵等材料,對于大口徑的截止閥:閥桿螺母和閥桿之間設計有滾動軸承,可以減小截止閥的開啟力矩使閥門可以輕便開關。

鑄鋼法蘭截止閥尺寸
| PN16 | ||||||||||||||||
| DN | 15 | 20 | 25 | 32 | 40 | 50 | 65 | 80 | 100 | 125 | 150 | 200 | 250 | 300 | 350 | 400 |
| L | 130 | 150 | 160 | 180 | 200 | 230 | 290 | 310 | 350 | 400 | 480 | 600 | 650 | 750 | 850 | 950 |
| H | 200 | 243 | 253 | 280 | 312 | 321 | 325 | 355 | 415 | 460 | 510 | 700 | 975 | 1115 | 1250 | 1380 |
| W | 120 | 140 | 160 | 160 | 200 | 200 | 240 | 240 | 280 | 320 | 360 | 560 | 600 | 700 | 800 | 900 |
| PN25 | ||||||||||||||||
| DN | 15 | 20 | 25 | 32 | 40 | 50 | 65 | 80 | 100 | 125 | 150 | 200 | 250 | 300 | 350 | 400 |
| L | 130 | 150 | 160 | 180 | 200 | 230 | 290 | 310 | 350 | 400 | 480 | 600 | 650 | 750 | 850 | 950 |
| H | 200 | 243 | 253 | 280 | 312 | 321 | 325 | 355 | 415 | 460 | 510 | 700 | 975 | 1115 | 1250 | 1380 |
| W | 120 | 140 | 160 | 160 | 200 | 200 | 240 | 240 | 280 | 320 | 360 | 560 | 600 | 700 | 800 | 900 |
| PN40 | ||||||||||||||||
| DN | 15 | 20 | 25 | 32 | 40 | 50 | 65 | 80 | 100 | 125 | 150 | 200 | 250 | 300 | 350 | 400 |
| L | 130 | 150 | 160 | 180 | 200 | 230 | 290 | 310 | 350 | 400 | 480 | 600 | 650 | 750 | 850 | 950 |
| H | 200 | 243 | 253 | 280 | 312 | 321 | 325 | 355 | 415 | 460 | 510 | 700 | 975 | 1115 | 1250 | 1380 |
| W | 120 | 140 | 160 | 160 | 200 | 200 | 240 | 240 | 280 | 320 | 360 | 560 | 600 | 700 | 800 | 900 |
| PN64 | ||||||||||||||||
| DN | 15 | 20 | 25 | 32 | 40 | 50 | 65 | 80 | 100 | 125 | 150 | 200 | 250 | |||
| L | 170 | 190 | 210 | 230 | 260 | 300 | 340 | 380 | 430 | 500 | 550 | 650 | 775 | |||
| H | 195 | 228 | 250 | 325 | 360 | 410 | 450 | 485 | 537 | 600 | 646 | 730 | 775 | |||
| W | 140 | 160 | 180 | 200 | 240 | 280 | 320 | 360 | 400 | 450 | 485 | 537 | 646 | |||
| PN100 | ||||||||||||||||
| DN | 15 | 20 | 25 | 32 | 40 | 50 | 65 | 80 | 100 | 125 | 150 | 200 | 250 | |||
| L | 170 | 190 | 210 | 230 | 260 | 300 | 340 | 380 | 430 | 500 | 550 | 650 | 775 | |||
| H | 195 | 228 | 250 | 325 | 360 | 410 | 450 | 485 | 537 | 600 | 840 | 925 | 1015 | |||
| W | 100 | 120 | 160 | 200 | 240 | 280 | 320 | 400 | 450 | 450 | 500 | 500 | 500 | |||
鑄鋼法蘭截止閥應用
鑄鋼法蘭截止閥的啟閉件是密封上面呈平面或錐面的閥瓣,閥桿操作閥瓣沿閥座中心線作升降運動。鑄鋼法蘭截止閥建議作啟閉使用,一般不建議用于調節流量,訂制時允許作調節和節流。其公稱壓力范圍1.6-16.0MPa,工作溫度范圍-29~550℃。鑄鋼法蘭截止閥可用于石油、化工、電力、冶金、機械行業等不同工況的管路上,切斷或接通管路介質。鑄鋼法蘭截止閥驅動方式有手輪、齒輪、氣動及電動等。
獲取J41H-鑄鋼法蘭截止閥報價或訂購產品時請提供以下參數:
執行標準:國標GB,日標JIS,美標ANSI,德標DIN,并支持非標訂制;
公稱通徑(DN),或以“寸”為尺寸單位,如:DN100,4寸(4");
公稱壓力(MPa),或以“Lb”,“K”,“pa”,“kpa”,“bar”,“psi”,為壓力單位,如:1.6MPa,150LB,10K;其它壓力單位將換算成MPa進行計算。
連接形式:法蘭,對夾,焊接(對焊,承插焊),螺紋(G螺紋,NPT螺紋,RC螺紋...),卡箍,卡套;
使用介質:水,弱腐蝕性介質,強腐蝕性介質,蒸汽,油品,可燃氣體,固液共存流體,等等,粘稠介質需提供粘度;
使用溫度:低溫,常溫,中溫,高溫,需提供實際使用溫度值;
閥體材質:鑄鐵,鑄鋼(20#或稱WCB),鍛鋼,不銹鋼(304/304L/316/316L),雙相不銹鋼,等等;
密封材料:橡膠,聚四氟乙烯,陶瓷,PPL等,硬密封(閥體材料密封,合金鋼,硬質合金等);
驅動方式:手柄,蝸輪,氣動,氣動+手動,(選擇氣動驅動需提供氣源壓力,單/雙作用,附件要求...),電動,電動+手動,(選擇電動驅動需提供電壓,電裝防護/防爆要求...),等等;
閥門Kv/Cv值:若對流量有要求,需提出;
以上為常規選型,提供相關參數若符合常規產品即可獲取對應產品報價,非標訂制(非常規尺寸/閥體材質/密封材質/使用介質/溫度等)需由我司具體確認價格及貨期。
若有產品試驗、檢驗標準及其他要求需在獲取報價/訂貨時提出;
若由客戶提供閥門類型和型號時(非標準型號),客戶應正確說明其型號的含義和要求,在供需雙方理解相同的條件下簽訂合同;
產品質量要求、質量標準、供方對質量負責的條件:按有關質量標準執行;
報價確認:我司提供報價清單及標準說明至客戶確認,在雙方確認后再擬定合同;
J41H-鑄鋼法蘭截止閥使用的場合重要或環境比較復雜時,請您盡量提供設計圖紙和詳細參數,由我們幫您確認。

















上海昆煉閥門制造有限公司
滬公網安備 SITEMAP